電話:13570151199
傳真:020-39972520
郵箱:hanyan@hanyancarbon.com
地址:廣東省廣州市番禺區東環街番禺大道北555號天安總部中心30號樓6層
棕櫚廢物由于其木質纖維素化學和豐度轉很適合制造活性炭,其實在我們研究前已經有幾種棕櫚廢物有過被制成活性炭而用于各種應用。高度多孔的材料可以應用于氣體,重金屬,化學吸附,水凈化,以及作為電化學雙層電容器的活性材料。由于預備條件的變化,棕櫚廢物制成的活性炭在電化學性質方面沒有充分的比較。本期我們使用棕櫚仁殼,油棕纖維和空果束通過一步物理碳化和活化來產生活性炭,提出了幾種活性炭理化特性的對比分析。
棕櫚廢物預處理
在環境保護和工業應用中對氣體傳感和吸附,儲能裝置和水處理的新型,高效和經濟材料有很大的需求。來自農業廢棄物的活性炭可調孔徑,穩定的熱和機械強度使其成為昂貴的石墨烯基材料的合適替代品。活性炭的制造過程使用空果束,油棕纖維和棕櫚仁殼分別浸泡在蒸餾水中24小時。然后用CH3COCH3洗滌樣品,并在110℃下在烘箱中干燥24小時。圖1顯示了預處理過程后所有原料的圖像。

圖1:預處理活性炭前體的圖像。
碳化和活化
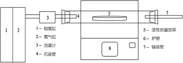
將三種棕櫚廢物預處理的樣品碳化并通過一步法在700℃下在氬氣流下使用管式爐以10℃/min的加熱速率活化。當達到700℃的設定溫度時,以5L/min的流速代替氮氣的氬氣流,以活化1小時的保持時間。圖2顯示了一步物理活化的實驗裝置的示意圖。然后使樣品冷卻并儲存在密閉容器中以避免孔吸附大氣氣體。

圖2:一步物理活化的原理圖設置。
幾種活性炭的分析結果
FESEM:三種活性炭在不同放大倍數下的顯微圖像顯示在圖3中。空果束活性炭樣品產生的蜂窩狀圖案孔隙網絡與優化的碳納米管相似。油棕纖維活性炭上的孔也類似于空果束活性炭的蜂窩圖案。然而,與油棕纖維炭和棕櫚仁殼炭相比,空果束炭中的孔網絡更加突出和發展。棕櫚仁殼活性炭樣品顯示出很少的隧道孔,并含有阻塞毛孔的可見微塊。發達的多孔網絡表明可以沉積吸附物或離子的高表面積。

圖3:不同放大倍數下觀察到的三種活性炭。
CHNS分析:在碳化和活化之前分析預處理活性炭的元素組成。圖4顯示了預處理樣品的定量元素分析的圖示。碳是所有樣品中最突出的元素,棕櫚仁殼,空果束和油棕纖維分別為48.55%,47.78%和47.05%。空果束含有7.03%的氫和1.36%的氮。油棕纖維含有6.58%的氫,1.73%的氮,而棕櫚仁殼含有6.26%的氫和1.05%的氮。對于所有活性炭樣品,硫含量不太重要,因為它們含量低于1%。

圖4:預處理活性炭的元素組成。
BET表面積和孔徑分布:所述吸附物在物理吸附過程中使用是氮氣。吸附和解吸等溫線用于估計每個活性炭的表面積和孔分布。圖5顯示了三種活性炭的等溫線圖。在低相對壓力下在所有樣品上觀察到開放式II型滯后曲線。據說,當前體碳化過程中不完全燃燒導致孔隙收縮時,這種開口性和低相對壓力下的低吸附性隨著相對壓力的增加而增加]。

圖5:活性炭的氮吸附和解吸等溫線。
通過一步物理活化技術從資源豐富的棕櫚仁殼,油棕纖維和空果束中制造活性炭。結果表明,所有原料都具有高百分比的固定碳,這有助于轉化成活性炭。由這些起始材料衍生的無定形活性炭的生理化學性質包括元素組成,孔的寬蜂窩網絡,高表面積和表面官能團。這些特性使材料適用于氣體,重金屬和化學吸附,廢水處理和電化學雙層電容器的活性材料 。因此,通過將它們用作用于不同應用的活性炭制造的起始材料,可以從廢棄且對環境具有污染的廢物中獲得經濟優勢。
文章標簽:椰殼活性炭,果殼活性炭,煤質活性炭,木質活性炭,蜂窩活性炭,凈水活性炭.推薦資訊
- 2025-10-10活性炭金屬改性對氫的吸附
- 2025-09-29活性炭吸附有機微污染物
- 2025-09-17活性炭去除對羥基苯甲醚
- 2025-09-09活性炭從水溶液中吸附苯酚
- 2025-08-27活性炭從水溶液中分離甲乙酮
- 2025-08-19活性炭對鈷離子的吸附與去除
- 2025-07-30活性炭用于強汞的去除
- 2025-07-23活性炭超聲輔助吸附黃金
- 2025-07-16活性炭載二氧化鈦協同去除二氯甲烷
- 2025-07-09活性炭從水中吸附脂多糖
- 2025-07-03活性炭凈化銅污染的生物柴油
- 2025-06-25活性炭從水中去除聚氯乙烯微塑料
